臻宝科技研发人员薪酬“变脸”,实控人配偶同名自然人入股股东参股企业
来源:
中国产经观察
日期:2026-04-08 16:40:26
点击:80043
中国产经观察消息 近年来,半导体产业链国产化浪潮下,重庆臻宝科技股份有限公司(以下简称“臻宝科技”)凭借业绩的快速增长向科创板发起冲刺。然而,在科创属性备受关注的当下,公司 2024 年研发投入激增近九成,2023 年研发人员人均薪酬骤降。不仅如此,公司第三大股东重庆科芯的入股“身后”,其基金管理人设立的合伙企业,在关键时点引入与实控人配偶同名的自然人“夏冰”,该合伙企业在臻宝科技股改后不久注销,多重巧合之下,上述安排或待公司释疑。
研发人员薪酬“骤降”,科创属性或系“拼凑”
据臻宝科技签署于2026年3月31日的招股说明书(以下简称“招股书”),2022 - 2025 年,臻宝科技的营业收入分别为 38,561.04 万元、50,635.63 万元、63,450.1 万元、86,758.17 万元,净利润分别为 8,155.44 万元、10,939.41 万元、15,185.69 万元、22,593.08 万元。
2022 - 2025 年,公司研发投入分别为 1,769.41 万元、2,701.63 万元和 5,119.2 万元、6,116.94 万元。同期,公司研发投入占当期营业收入的比重分别为 4.59%、5.34%、8.07%、7.05%。2023 - 2025 年,公司研发投入同比增长 52.69%、89.49%、19.49%。公司 2024 年营业收入同比增长 25.3%,而研发费用增速高达 89.49%,出现“申报前一年研发投入突然翻倍”的情况。
据招股书,公司研发费用构成主要包括:职工薪酬、物料消耗、折旧与摊销、能源费用、委托开发费、股份支付和其他费用。其中,职工薪酬和物料消耗占研发费用近半数。2022 - 2025 年,研发费用中的职工薪酬分别为 765.29 万元、1264.19 万元、2,404.47 万元、2,812.39 万元,占研发费用的 43.25%、46.79%、46.97%、45.98%。经计算,2023 - 2024 年,研发费用中的职工薪酬同比增长 65.19%、90.20%、16.97%。
招股书显示,2022 - 2025 年各年末,公司研发人员数量合计为 38 人、92 人、113 人和 145 人。2023 - 2025 年,研发人员同比增长 142.11%、21.74%、28.32%。
对于研发费用职工薪酬的变动,臻宝科技回复:“报告期内公司研发费用中职工薪酬金额逐年提高,主要为随着公司业务规模的扩大,公司在新产品、新技术方面加大了研发投入力度,以保持公司的技术先进性,公司的研发人员数量也随之增加。”
然而,通过计算研发人员人均薪酬,却发现异常。经计算,2022 - 2025,研发人员人均薪酬分别为 20.14 万元、13.74 万元、21.28 万元、19.39 万元。其中公司 2022 年进行了现金分红,部分研发人员的薪酬应或包含了取得的分红。但 2023 年、2024 年、2025 年均未进行分红。那么2023年的研发人员人均薪酬为何和与其他年份存在差距?据臻宝科技回复:对于2023年研发人员人均薪酬下降(13.74 万元)的情况,实际系研发人员数量扩张、结构变化所致,并非薪酬“缩水”或刻意调低。2023 年研发薪酬总额增长率低于人数增幅,人均自然下降,符合扩张期人员结构规律。
但需要关注的是,根据首轮问询函回复,2022 - 2024 年,臻宝科技的生产人员平均薪酬为 12.97 万元、13.22 万元、13.95 万元。其称“公司生产人员系生产车间的基础操作员及生产管理人员,平均薪酬相对较低。”而 2023 年,公司研发人员人均薪酬 13.74 万元,几乎与同期生产人员平均薪酬 13.22 万元持平。研发人员薪酬何以与生产人员“比肩”?公司研发人员的真实薪酬水平究竟几何?
值得注意的是,报告期内大幅增长的研发费用和研发人员数量或与科创板的科创属性要求有关。据招股书,截至 2022 - 2025 年各年末,公司员工人数分别为 681 人、779 人、854 人、1,024 人,研发人员占员工总数的比例为 5.58%、11.81%、13.23%、14.16%。2023 年相较于 2022 年,员工总人数增长 98 人,这其中研发人员数量增加了 54 人,占总员工增加数量的 55.1%。
根据《科创属性评价指引(试行)》,科创板上市企业需同时符合以下四项科创属性评价标准:(1)最近三年累计研发投入占最近三年累计营业收入比例≥5%,或最近三年累计研发投入金额≥8,000 万元;(2)研发人员占当年员工总数的比例≥10%;(3)应用于公司主营业务并能够产业化的发明专利≥7 项;(4)最近三年营业收入复合增长率≥25%,或最近一年营业收入金额≥3 亿元。
按此标准,2022 年、2023 年,瑧宝科技的研发人员占比、研发投入累计占比或均未达标。而正是凭借2024年研发费用的激增,才使其“踩线”满足了科创板上市条件。不过,臻宝科技回复:公司研发投入真实,2024 年研发费用增长,主因项目数量及技术难度增长、人员扩招,均对应实际研发活动(如硅 / 碳化硅材料、精密零部件攻关)。并且公司最近三年累计研发投入远超 8,000 万元、研发人员占比≥10%、发明专利≥7 项、营收复合增长≥25%,符合《科创属性评价指引》。同时,公司认定严谨,不存在虚增人数。虽然如此,但其科创属性的“含金量”有待进一步审视。
问题不止于此。
股东重庆科芯“身后”的顺源能源合伙企业,实控人配偶入股“巧合”丛生
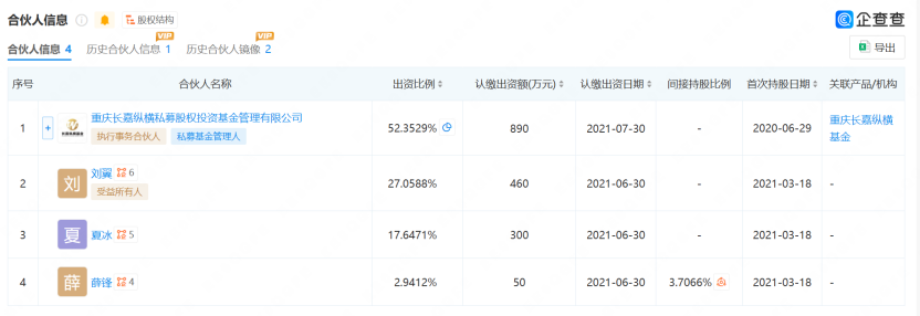
据招股书,重庆科芯对臻宝科技持股 9.36%,系其第三大股东。重庆长嘉纵横私募股权投资基金管理有限公司(以下简称“长嘉纵横私募基金”)是重庆科芯的私募基金管理人。
值得注意的是,长嘉纵横私募基金曾出资设立重庆顺源能源合伙企业(有限合伙)(以下简称“顺源能源合伙企业”)。据市场监督管理局数据,顺源能源合伙企业成立于 2020 年 6 月 29 日,于 2023 年 3 月 15 日注销。顺源能源合伙企业包括长嘉纵横私募基金、刘翼、夏冰、薛锋,分别持股 52.35%、27.06%、17.65%、2.94%。其中,夏冰、刘翼、薛锋等三人系 2021 年 3 月成为顺源能源合伙企业股东。
据招股书,薛锋从 2018 年 5 月至今,历任长嘉纵横私募基金副总经理、职工代表董事等职务,从 2021 年 12 月至今任臻宝科技董事。据公开信息,刘翼担任长嘉纵横私募基金持股的重庆万融私募股权投资基金管理有限公司的董事职务。

这说明顺源能源合伙人企业的自然人股东刘翼、薛锋不仅仅是其财务投资者,同时也在长嘉纵横私募基金及其关联方任职。
值得注意的是,顺源能源合伙企业另一位合伙人“夏冰”与臻宝科技实控人的配偶同名。据招股书,王兵系臻宝科技实际控制人,王兵通过直接持股和通过员工持股平台合计控制公司 57.2%的表决权。夏冰系王兵配偶,通过直接和简介持股合计对公司持股 4.81%,并为王兵的一致行动人。夏冰自 2017 年起在臻宝科技任职,现为公司效率工程部总监。
据首轮问询函回复,重庆科芯系 2020 年 12 月入股臻宝科技,入股价格为 6.1026 元/股。也就是说,在重庆科芯入股臻宝科技后不久,2021 年 3 月“夏冰”入股了重新科芯基金管理人设立的顺源能源合伙企业。而且顺源能源合伙企业又在臻宝科技股改后不久注销。不仅如此,重庆科芯及其关联方杨海斌(杨海斌亦是公司股东)曾就入股臻宝科技事宜与公司实控人王兵及其相关方签署了对赌协议。
综上,重庆科芯入股臻宝科技后不久,其基金管理人长嘉纵横私募基金设立的顺源能源合伙企业,在关键时点引入了与臻宝科技实控人王兵配偶同名、且任职于臻宝科技的夏冰作为合伙人,并在臻宝科技股改不久后注销。顺源能源合伙企业的设立、合伙人变更及注销时点,与重庆科芯入股及臻宝科技股改等关键事项多次巧合,顺源能源合伙企业的合伙人“夏冰”是否系公司实控人配偶夏冰?这其中是否具备商业合理性?是否存在未披露的利益安排?
对此,臻宝科技回复:顺源能源为长嘉纵横私募基金自主对外投资,与臻宝科技无股权或业务往来,亦不属于监管规则下的“关联方”。该公司 2023 年已注销。顺源能源与公司不存在商业往来、资金往来,相关安排具备商业合理性、无未披露利益输送。
虽然公司给出相关回复,但仍存在诸多疑问。比如,顺源能源合伙企业的合伙人“夏冰”是否系公司实控人配偶夏冰?随着臻宝科技注册稿的提交,其离上市进程仅一步之遥。而笼罩在臻宝科技上空的疑云,并未散去。
编辑 | 王宇